Performance Assessment and Part Uprating

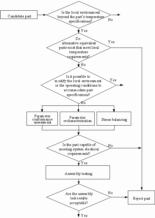
The part manufacturer provides electrical specifications for a given environmental range of operation. If mismatches exist between the manufacturer specified environmental ranges and the local environment, the parts selection and management team must take additional steps to assure proper operation of the part in the product. This section provides an overview of the methodology (shown in the figure below) to be followed if a mismatch exists between operating temperature specifications and the local environment.

Several alternatives should be considered before a part is assessed for use beyond its manufacturer-specified temperature range. Alternative parts that satisfy the electrical requirements and meet the local environment should be explored. If such parts are found which meet the application-independent assessment criteria and are suitable for the application, then the candidate part will be discarded from further consideration for this application. The other option is to modify the local thermal operating environment of the part. The use profile of the application where the part is used may also be modified to ensure that the part is operated only when the environment is within the manufacturer-specified temperature range. For example, with sufficient warm-up time, part can be brought to a temperature within their manufacturer specified operating temperature range, before the part's function is required. Another method in which part performance over the temperature environment may be ensured is local thermal management. The part may be moved to a different location with the system, cooling equipment may be added to the system, heat sinks may be installed, and other passive or active cooling (or if necessary, heating) arrangements may be made. Thermal management options may bring with them associated costs from added EMI shielding, size and weight constraints, and additional maintenance requirements. Isolating the subsystem from the outside environment can also modify local environment. In that case, a complete subsystem may be kept within controlled environment.

The use of parts outside their manufacturer-specified temperature limits requires uprating, which is defined as a process to assess the capability of a part to meet the performance requirements of the applications in which the part is used outside the manufacturers' specifications. Uprating for operating temperature outside specifications is called thermal uprating. Uprating should be considered as an option to mitigate environmental mismatch, only when no other feasible alternative can be found.

There are three methods of thermal uprating: parameter conformance assessment, parameter re-characterization, and stress balancing. In parameter conformance assessment, the part is tested to assess if its electrical parameters satisfy the manufacturer-specified parameter limits over the target temperature range . In parameter re-characterization, part parameters are characterized over the target temperature range, leading to a possible re-specification of the manufacturer-specified parameter limits. In stress balancing, at least one of the part's electrical parameters is kept below its maximum allowable limit to reduce heat generation, thereby allowing operation at a higher ambient temperature than that specified by the part manufacturer.

Performance assessment process flow - There are risks associated with use of parts outside manufacturer-specified temperature range, the decision to consider uprating should take these risks in to account and address the risks.